Our Products
Pipe Connectors
We manufacture unique in design pipe connectors. These pipe connectors are used to connect service pipe lines of water, Air, Hot Air and Oil etc. up to a pressure of maximum 9 Kg/cm2 & up to 160 degrees temperature.
Pipe (tube) end preparation:–
i) Deburr and clean pipe (tube) ends.
ii) Surface should be free of deep scratches, gouges, dents, dirt etc.
Installation:-
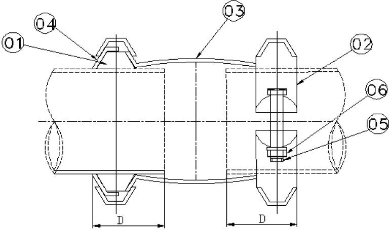
i) Install Seal Ring Cover (4), Seal Ring (1) and Center Pipe (3) on one side of pipe in sequence.
ii) Install remaining Seal Ring Cover and Seal Ring on other pipe end.
iii) Position Seal Ring Cover and Seal Ring to proper pipe insertion depth ‘D’.
iv) Slide Centre Pipe to Seal Ring and move Seal Ring and Seal Ring Cover. Pipe must be inserted to proper depth ‘D’ as shown in following figure.
Special Notes:-
Assembly of Seal Ring can be made easier by dipping Seal Ring in water or the fluid to be sealed. The use of other rubber lubricants can be detrimental to the life of the Seal Ring. Never lubricate the metal parts.
